uitlijning
uitlijning
heb dus nu laatst zelf de uitlijning gedaan van de wagen mits die nog altijd enorm afliep naar de passagiers zijde.
En er bij de vooraf gaande uitlijning niet veel kennis was van zulke wagens was ik overeen gekomen met de eigenaar om deze zelf te mogen doen.
heb het caster moeten bijpassen er zat nl een shim helemaal vooraan en ze moesten na de meeting blijkbaar allemaal achteraan zitten
nu het camber, caster en spoor van voor heb ik nu heel goed gekregen
achteraan het spoor ook goed maar nog het camber aan de passagier zijde moet nog verbeterd worden.
op de site van markv volgende gevonden:
Een dun plaatje (1mm) is 0.25 graden camber, een dik plaatje is 0.75 graden camber. Bij mij zaten er nog 2 plaatjes van 1mm tussen plus
het bracket waar de kabel richting de ABS sensor aan vast zit, ook 1mm. Ik wil 0.5 graden negatiever camber hebben,
dus moeten er 2 plaatjes van 1mm weg.
Hieruit leid ik dus af:
rechter achterwiel nu -2.18° camber
volgens hierboven is 1mm gelijk aan 0.25 graden verschuiving camber dus 0.04mm/1°camber
moet dus 18 graden camber goed maken 18 * 0.04mm is dus 0.72 mm extra ertussen zetten
En er bij de vooraf gaande uitlijning niet veel kennis was van zulke wagens was ik overeen gekomen met de eigenaar om deze zelf te mogen doen.
heb het caster moeten bijpassen er zat nl een shim helemaal vooraan en ze moesten na de meeting blijkbaar allemaal achteraan zitten
nu het camber, caster en spoor van voor heb ik nu heel goed gekregen
achteraan het spoor ook goed maar nog het camber aan de passagier zijde moet nog verbeterd worden.
op de site van markv volgende gevonden:
Een dun plaatje (1mm) is 0.25 graden camber, een dik plaatje is 0.75 graden camber. Bij mij zaten er nog 2 plaatjes van 1mm tussen plus
het bracket waar de kabel richting de ABS sensor aan vast zit, ook 1mm. Ik wil 0.5 graden negatiever camber hebben,
dus moeten er 2 plaatjes van 1mm weg.
Hieruit leid ik dus af:
rechter achterwiel nu -2.18° camber
volgens hierboven is 1mm gelijk aan 0.25 graden verschuiving camber dus 0.04mm/1°camber
moet dus 18 graden camber goed maken 18 * 0.04mm is dus 0.72 mm extra ertussen zetten
- Bijlagen
-
- spoor setups (1).jpg (177.32 KiB) 4205 keer bekeken
nog eventjes zitten denken en ben verkeerd in de redenering
camber achter -2°18'
dit is niet gelijk aan -2.18°
daar zit de fout ga het eens moeten uitrekenen en dan opnieuw omrekenen met de gegevens van markv (0.25 ° = 1 mm shim)
2° + (18*60)/3600 = 2.3°
klopt dit nu dat 2°18' gelijk is aan 2.3 °
dan moet er een plaatje van 1mm tussen ipv 0.7mm
wie geeft mij het groene licht om dit terug te gaan veranderen
camber achter -2°18'
dit is niet gelijk aan -2.18°
daar zit de fout ga het eens moeten uitrekenen en dan opnieuw omrekenen met de gegevens van markv (0.25 ° = 1 mm shim)
2° + (18*60)/3600 = 2.3°
klopt dit nu dat 2°18' gelijk is aan 2.3 °
dan moet er een plaatje van 1mm tussen ipv 0.7mm
wie geeft mij het groene licht om dit terug te gaan veranderen
Laatst gewijzigd door hitman op 04 aug 2012 12:29, 1 keer totaal gewijzigd.
- Smiley
- Groot Speedster Commandeur
- Berichten: 7415
- Lid geworden op: 10 jul 2008 21:46
- Locatie: Etten-Leur
camber plaatjes
http://www.elise-shop.com/camber-shimpl ... 54093.html
http://www.elise-shop.com/camber-shimpl ... 54093.html
Het leven is geen sprookje.
Als jij rond middernacht je schoen kwijt bent, dan heb je gewoon teveel gezopen.
Als jij rond middernacht je schoen kwijt bent, dan heb je gewoon teveel gezopen.
- Arno
- Mega lid in de orde van Zilveren nietje
- Berichten: 1534
- Lid geworden op: 03 dec 2004 7:45
- Locatie: Woubrugge
- Contacteer:
Klopthitman schreef:nog eventjes zitten denken en ben verkeerd in de redenering
camber achter -2°18'
dit is niet gelijk aan -2.18°
Maar daar was je zelf ook al achter gekomen..
Idd moet je afhankelijk van de machine het graden-minuten verhaal (gebaseed op 60-tallige telwijze) naar een 'graden-decimaal' (gebaseerd op 100-tallige) omrekenen omdat Lotus en Opel over het algemeen alleen voor de sporing met graden/minuten werkt en voor de overige (camber, castor) met het decimale systeem.
2°30' is idd. 2.50°
Als je even een tabelletje maakt kan je wel snel zien waar je ongeveer zit..
Zo van:
0°00' == 0.00°
0°15' == 0.25°
0°30' == 0.50°
0°45' == 0.75°
1°00' == 1.00°
Met evt. nog wat meer tussenstapjes...
Heb je trouwens echt de castor aan de voorkant aangepast? Dat is altijd een fikse rotklus om die shims/ringetjes bij de wishbone bussen op z'n plaats te houden bij montage.
Helemaal als je nog voor de achter-poot van de voorste wishbone de originele kleine diameter ringetjes/shims hebt. Die vallen er altijd iedere keer weer uit met monteren. Uiterst irritant!
Qua camber hoef je trouwens niet exact gelijk links en rechts te komen. Omdat je nu eenmaal in discrete stappen moet werken wegens de shim-diktes valt het soms niet anders te doen met een (klein) verschil...
Bye, Arno.
No-one can hear you scream at 8600 RPM..
ja caster echt aangepast
bij jan van der kooi gezien dat daar aan de ene kant links een shim meer naar voren zat en dat de auto niet goed stuurde
naar rechts aflopen en ook nog eens zwaar sturen
de ringen kan je erin tikken met schroeven draaier en hamer dan met een camera toestel eens zien of ze mooi voor het gat zitten
dan met een inbus sleutel even wrikken tot ze mooi zitten en dan de bout
erdoor
moet rekenen op een uurtje
bij jan van der kooi gezien dat daar aan de ene kant links een shim meer naar voren zat en dat de auto niet goed stuurde
naar rechts aflopen en ook nog eens zwaar sturen
de ringen kan je erin tikken met schroeven draaier en hamer dan met een camera toestel eens zien of ze mooi voor het gat zitten
dan met een inbus sleutel even wrikken tot ze mooi zitten en dan de bout
erdoor
moet rekenen op een uurtje
- Arno
- Mega lid in de orde van Zilveren nietje
- Berichten: 1534
- Lid geworden op: 03 dec 2004 7:45
- Locatie: Woubrugge
- Contacteer:
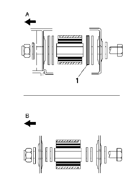
Scheelt al een hele hoop als je ook een setje 'grote' shims voor de achterse 'poot' koopt 
Met de originele rubberen wishbone bushings moet je alleen altijd de speciale shim met de rubberen coating laten zitten als je verandert. (zie diagram)
Je kunt dus max 3 shims 'voor' de bushing plaatsen of max 4 'achter'. De shim met nummer '1' is de speciale met de rubber coating aan de kant naar de wishbone toe.
Als je andere bushings of (Nitron) rose-joints gebruikt, dan moet deze shim juist weer door een 'normale' worden vervangen en mogen ze wel overal.
Bye, Arno.
Met de originele rubberen wishbone bushings moet je alleen altijd de speciale shim met de rubberen coating laten zitten als je verandert. (zie diagram)
Je kunt dus max 3 shims 'voor' de bushing plaatsen of max 4 'achter'. De shim met nummer '1' is de speciale met de rubber coating aan de kant naar de wishbone toe.
Als je andere bushings of (Nitron) rose-joints gebruikt, dan moet deze shim juist weer door een 'normale' worden vervangen en mogen ze wel overal.
Bye, Arno.
- Bijlagen
-
- Castor shims
- shims.png (6.86 KiB) 4160 keer bekeken
No-one can hear you scream at 8600 RPM..